| Технические условия | ТУ 3431-007-15232514-2016 |
| Сертификат соответствия | ТР ТС 012/2011 |
| Маркировки взрывозащиты и защиты от пыли | Ex e IIC Gb U; Ex ia IIC Ga U; Ex ib IIC Gb U; Ex tb IIIC Db |
| Защита от внешних воздействий | IP66 |
| Температура эксплуатации | -60 °C ≤ Ta ≤ +130 °C |
| Материал корпусных деталей | Нержавеющая сталь 08Х18Н10 (аналог AISI304) или 03Х16Н15М3 (аналог AISI316L) |
| Материал крепежных деталей | Нержавеющая сталь A2/A4 (без использования пластиковых шайб) |
| Заземление | Внутреннее/внешнее, стандартно болт М6, нержавеющая сталь |
Взрывобезопасные оболочки из нержавеющей стали С4** специально разработаны для применения в наиболее агрессивных средах, таких как пары сероводорода и морская вода. Изделия являются многофункциональными и могут использоваться в качестве оболочек клеммных коробок, постов управления и индикации, а также для размещения в них Ех-компонентов различного назначения.
КОНСТРУКЦИЯ
Оболочки С4** изготавливаются из нержавеющей стали AISI304 (или AISI316L по дополнительному запросу). Толщина стенок крышки и корпуса не менее 1,5 мм, что наряду с качественной дуговой сваркой позволяет обеспечить необходимую прочность (не менее 10 Дж). Крепежные скобы выполнены из 3 мм стали и приварены к корпусу. Силиконовая прокладка между крышкой и корпусом гарантирует степень защиты от внешних воздействий не ниже IP66. Невыпадающие винты крышки упрощают монтаж и эксплуатацию, а использование крепежа только из нержавеющей стали гарантирует работоспособность в течении всего срока службы. На корпусе стандартно установлен зажим заземления М6 (сквозная шпилька), по дополнительному запросу возможно применение зажимов М8 и М10. Начиная с габарита С408 возможна установка петель крепления крышки к корпусу.
ОСНОВНЫЕ ПРЕИМУЩЕСТВА
• Возможность применения в большинстве агрессивных сред;
• Высокая коррозийная стойкость;
• Наилучший вариант для применения на морских платформах;
• Наличие невыпадающих винтов крышки, упрощающих монтаж;
• Ударопрочность не менее 10Дж;
• Широкий температурный диапазон эксплуатации от -60°C до 130°C;
• Высокая защита от внешних воздействий (не менее IP66);
• Оболочки изготовлены из отечественных материалов на заводе в Санкт-Петербурге;
• Действующий сертификат ТР ТС 012/2011;
• Постоянное наличие оболочек на складе в городе Санкт-Петербург.
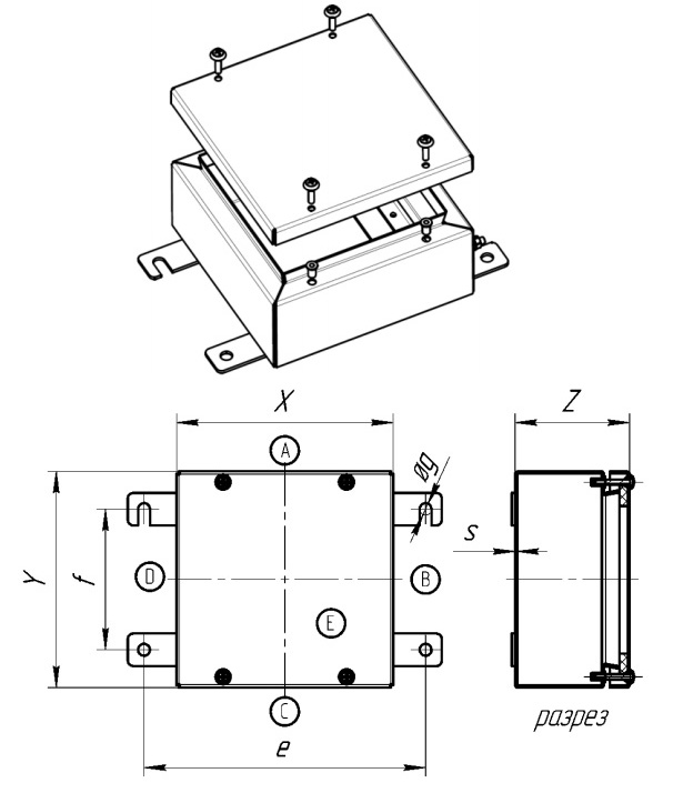
ГАБАРИТНЫЕ РАЗМЕРЫ
| Обозначение оболочки |
Габаритные размеры, мм | Толщина стенок, мм |
Установочные размеры, мм | Масса, кг | ||||
| X | Y | Z* | s | e | f | g | ||
| C401 | 150 | 150 | 90 | 1,5 | 210 | 80 | 11 | 1,72 |
| C402 | 200 | 150 | 100 | 1,5 | 260 | 80 | 11 | 2,06 |
| C403 | 200 | 200 | 100 | 1,5 | 260 | 130 | 11 | 2,86 |
| C404 | 300 | 200 | 120 | 1,5 | 360 | 130 | 11 | 3,37 |
| C405 | 400 | 200 | 150 | 1,5 | 460 | 130 | 11 | 4,4 |
| C406 | 300 | 300 | 150 | 1,5 | 360 | 230 | 11 | 4,92 |
| C407 | 400 | 300 | 150 | 1,5 | 460 | 230 | 11 | 5,68 |
| C408 | 400 | 400 | 200 | 1,5 | 460 | 330 | 11 | 9,8 |
| C409 | 600 | 400 | 200 | 1,5 | 660 | 330 | 11 | 10,79 |
| C410 | 800 | 500 | 200 | 1,5 | 860 | 430 | 11 | 18,78 |
| C411 | 1200 | 800 | 200 | 1,5 | 1260 | 730 | 11 | 31,15 |
* — в (скобках) опциональный размер, необходимо указывать при запросе оболочки
МАКСИМАЛЬНОЕ КОЛИЧЕСТВО КЛЕММ
| Обозначение оболочки |
Габаритные размеры, мм | Максимальное количество кабельных вводов АК с условным размером |
|||||||||||||
| X | Y | Z | 16 | 20s | 20 | 25 | 32 | 40 | |||||||
| A/C | B/D | A/C | B/D | A/C | B/D | A/C | B/D | A/C | B/D | A/C | B/D | ||||
| C401 | 150 | 150 | 90 | 7/7 | 7/6 | 6/6 | 6/5 | 4/4 | 4/3 | 3/3 | 3/2 | 2/2 | 2/1 | — | — |
| C402 | 200 | 150 | 100 | 10/10 | 8/7 | 10/10 | 8/7 | 7/7 | 5/4 | 4/4 | 3/2 | 3/3 | 2/1 | 2/2 | 2/1 |
| C403 | 200 | 200 | 100 | 10/10 | 10/9 | 10/10 | 10/9 | 7/7 | 7/6 | 4/4 | 4/3 | 3/3 | 3/2 | 2/2 | 2/1 |
| C404 | 300 | 200 | 120 | 21/21 | 14/13 | 21/21 | 14/13 | 14/14 | 8/7 | 9/9 | 6/5 | 5/5 | 3/2 | 4/4 | 2/1 |
| C405 | 400 | 200 | 150 | 30/30 | 18/17 | 30/30 | 15/14 | 27/27 | 12/11 | 15/15 | 6/5 | 12/12 | 6/5 | 7/7 | 3/2 |
| C406 | 300 | 300 | 150 | 27/27 | 27/26 | 24/24 | 24/23 | 21/21 | 21/20 | 12/12 | 12/11 | 8/8 | 8/7 | 5/5 | 5/4 |
| C407 | 400 | 300 | 150 | 30/30 | 27/26 | 44/44 | 24/23 | 27/27 | 21/20 | 21/21 | 12/11 | 14/14 | 8/7 | 10/10 | 5/4 |
| C408 | 400 | 400 | 200 | 44/44 | 44/43 | 44/44 | 44/43 | 27/27 | 27/26 | 21/21 | 21/20 | 14/14 | 14/13 | 10/10 | 10/9 |
| C409 | 600 | 400 | 200 | 72/71 | 44/44 | 65/66 | 44/44 | 36/35 | 27/27 | 33/32 | 21/21 | 26/25 | 26/25 | 16/15 | 10/10 |
| C410 | 800 | 500 | 200 | 88/87 | 52/52 | 88/87 | 54/54 | 65/64 | 35/35 | 42/41 | 27/27 | 28/27 | 28/27 | 20/19 | 12/12 |
| C411 | 1200 | 800 | 200 | 132/131 | 88/88 | 122/121 | 88/88 | 83/82 | 65/64 | 63/62 | 42/42 | 42/41 | 42/41 | 30/29 | 20/20 |
3/3МАКСИМАЛЬНОЕ КОЛИЧЕСТВО КЛЕММ
| Обозначение оболочки |
Габаритные размеры, мм | Максимальное количество клемм под многожильный проводник сечением до Х мм2 |
||||||||
| X | Y | Z | 1,5 | 2,5 | 4 | 6 | 10 | 16 | 35 | |
| C401 | 150 | 150 | 90 | 24/1 | 20/1 | 16/1 | 12/1 | 11/1 | 7/1 | -/- |
| C402 | 200 | 150 | 100 | 37/1 | 29/1 | 24/1 | 17/1 | 14/1 | 11/1 | 9/1 |
| C403 | 200 | 200 | 100 | 74/2 | 58/2 | 48/2 | 34/2 | 28/2 | 11/1 | 9/1 |
| C404 | 300 | 200 | 120 | 114/2 | 88/2 | 74/2 | 54/2 | 44/2 | 18/1 | 12/1 |
| C405 | 400 | 200 | 150 | 156/2 | 126/2 | 104/2 | 82/2 | 64/2 | 26/1 | 21/1 |
| C406 | 300 | 300 | 150 | 114/2 | 88/2 | 74/2 | 54/2 | 44/2 | 36/2 | 24/2 |
| C407 | 400 | 300 | 150 | 156/2 | 126/2 | 104/2 | 82/2 | 64/2 | 52/2 | 42/2 |
| C408 | 400 | 400 | 200 | 234/3 | 189/3 | 156/3 | 123/3 | 96/3 | 52/2 | 42/2 |
| C409 | 600 | 400 | 200 | 378/3 | 309/3 | 258/3 | 174/3 | 156/3 | 86/2 | 64/2 |
| C410 | 800 | 500 | 200 | 664/4 | 564/4 | 476/4 | 356/4 | 284/4 | 177/3 | 123/3 |
| C411 | 1200 | 800 | 200 | 1578/6 | 1290/6 | 1086/6 | 822/6 | 660/6 | 455/5 | 350/5 |
- Цена: Цену уточняйте

